公司新聞
簡析塑料檢查井下井前的安全注意事項
馬路上會有很多井蓋,當這些塑料檢查井經過風吹日曬之后需要下井檢查的時候,塑料檢查井下井前有哪些安全注意事項。1、打開塑料檢查人孔蓋,至少干燥6小時。如有必要,請···
公司新聞945 2021-11-22
塑料檢查井的節水措施
塑料檢查井是一個非常重要的節水和環保設施。塑料檢查井與“節水環保”密切相關。然后讓我們來看看它的節水和環保設施。塑料檢查井是城市地下排水系統中不可缺少的排水設施···
公司新聞649 2021-11-22
塑料檢查井的利用率怎樣
塑料檢查井的模具市場越來越大,很大程度上是因為它重量輕、使用安裝方便、范圍廣、改進空間大。塑料檢查井模具深受世界各地客戶的喜愛,并以其低成本、高回報、設備簡單、···
公司新聞663 2021-11-22
塑料檢查井的價格存在差異是必然的
塑料檢查井的價格存在差異是必然的,首先是因為不同的塑料檢查井由于采用的原材料不同,所以在原材料比較貴的檢查井制作成本上升了,價格自然會有所提升。其次是在制作方式···
公司新聞745 2021-11-19
塑料檢查井不僅性能可靠施工更是方便快···
塑料檢查井(1)、施工方便快捷。采用分體組裝結構、井筒可現場切割、調整,適應各種安裝深度要求,有效降低成本,大大提高施工進度 塑料檢查井,縮短工期是傳統檢查井的···
公司新聞749 2021-11-19
塑料檢查井井筒、井蓋安裝注意事項
塑料檢查井是排水排污效率比較高的管道產品,相比傳統的磚砌混凝土檢查井不僅內壁光滑,而且能夠實現與排水管道的柔性連接,保證了接口處不會有漏水情況的出現,塑料檢查井···
公司新聞1529 2021-11-19
雨水井跟塑料檢查井在功能作用上有根本···
1、雨水井跟塑料檢查井都屬于管線工程中的附屬構筑物,但兩者在功能作用上有根本性的區別,雨水井通常井蓋上標有“雨”的字樣,檢察井的井蓋上字樣就比較多了比如“電”、···
公司新聞817 2021-11-19
塑料檢查井致力污水處理 響應政策共建···
水是人類生存的必需品,更是經濟發展的基礎物質。但是,近年來水資源受到嚴重污染,未來幾年里,日常用水將越來越匱乏。解決這一問題的關鍵,是要做到節約用水、循環用水,···
公司新聞663 2021-11-17
塑料檢查井相比磚砌檢查井更適合雨雪天···
在冬季的時候,塑料檢查井有著很大的作用體現。細心的人可以發現,近幾天,降溫速度變快,早上地面的寒霜白花花的一片,甚至很多路段會出現結冰現象,沒有下雪,沒有下雨,···
公司新聞744 2021-11-17
塑料檢查井作為新型排水設備各方面細節···
現在塑料檢查井作為一種新型的節能環保排水設備,在市鎮建設的過程中已經不可或缺。塑料檢查井主要是采用現代制造工藝,高分子聚乙烯材料經過高科技加工制作而成,塑料檢查···
公司新聞677 2021-11-17
塑料檢查井安裝時的*大間距有哪些呢
塑料檢查井安裝時的*大間距是對于雨水塑料檢查井安裝的*大間距,規定有以下幾點:1.雨水口間距宜為25~50m。連接管串聯雨水口個數不宜超過3個。雨水口連接管長度···
公司新聞686 2021-11-17
安裝HDPE雙壁波紋管相關事項
雙壁波紋管是灌溉、排水等工程中常用的管材,應用范圍廣,文明安裝雙壁波紋管也就成為很多廠家的要求,怎樣才能做到文明安裝呢?所謂文明安裝,就是指安裝過程中不影響周圍···
公司新聞1635 2021-03-22
野外應用HDPE雙壁波紋管注意事項
HDPE雙壁波紋管是能夠應用于農田灌溉的輸水管材,它的水流阻力小、速度快,使用壽命長,諸多的優點使其備受青睞,野外使用雙壁波紋管要注意管材的保護和天氣的影響。在···
公司新聞1955 2021-03-22
塑料檢查井下井前安全注意事項
1.打開塑料檢查井蓋,使其干燥至少6個小時。 如有必要,請使用軸流風扇通風30分鐘;2.將點燃的紙放入塑料檢查孔中,以檢查是否有足夠的氧氣;3.穿戴鎧裝,尤其是···
公司新聞1681 2021-03-17
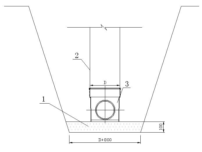
塑料檢查井的安裝與施工詳解
1.1 一般規定1.1.1 排水檢查井安裝施工前,應與排水管道工程同時做好技術交底工作。1.1.2 施工單位應編制詳細的施工組織方案。1.1.3 施工單位應根據···
公司新聞3667 2021-03-17
塑料檢查井對現代生活的影響
使用塑料檢查井來排水是很重要的節水以及環保設施。塑料檢查井是每個城市的地下排水系統中不能缺少的排水設施。排水用檢查井通常都是沿公用設施鋪設的,每隔20到40m距···
公司新聞1651 2021-03-15



